????????139 8194 1288
?? ?棺028-8545 3715
|
|
????
RLY??????ˉ
?????????2012/7/22 ??????7659
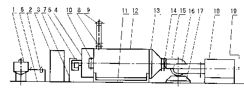
??????? ?????????????????????????????????????????????????ˉ???????????????????????????????????????????????????????????250????????????????????????????????????????????????ˉ?????????????????????????????????????????????????????????????????????????С?????????????????????????????????????????????л?????????????μ????????????緧??????????? |
 |
 |
??÷?Χ
| ???ˉ?????????? |
??t??? |
 |
| ????????? |
????????????1?? |
| ?????? |
?в?????? |
| ??????? |
????????????? |
| ????? |
????濾???????楨?????? ?????????? |
| ?????? |
??????????塢?????? |
| ????? |
?????ɡ?????????????? |
| ??????? |
?????????? |
| ??????? |
?????淿 | |
|

|
|
?????????

???????? |
| ??? |
???????? |
????? kg/h |
?????? 104kcal/h |
???γ?? L??W??Hmm |
????L??Wmm |
????kg |
RLY1
|
QYC5 |
1.3-1.6 |
1 |
1000??1000??1600 |
??200 |
150 |
| RLY4 |
QYC5 |
5-6.5 |
4 |
1700??1000??1600 |
140??160 |
1100 |
| RLY10 |
Y1 |
13-16 |
10 |
2100??1300??1600 |
180??200 |
1970 |
| RLY20 |
YL3 |
26-32 |
20 |
2800??1400??1700 |
200??250 |
2260 |
| RLY30 |
YL3 |
39-48 |
30 |
3400??1500??1800 |
250??300 |
3160 |
| RLY40 |
YL3 |
52-64 |
40 |
4020??1700??1900 |
300??400 |
4750 |
| RLY60 |
YL7 |
78-96 |
60 |
4800??1900??2100 |
400??500 |
5650 |
| RLY100 |
YL8 |
130-160 |
100 |
5400??2100??2300 |
550??650 |
6550 |
| RLY200 |
YB10 |
260-320 |
200 |
6000??2500??2400 |
750??900 |
7980 |
| RLY360 |
YB11 |
468-720 |
360 |
7200??2900??2600 |
900??1200 |
9860 | |
|